美联航CEO据悉考虑与美国航空公司合并
来自:admin
网站:股票杠杆交易平台
更新:2026-04-17 07:17:08
阅读:150
中文在线今日跌6.61%,2家机构专用席位净买入2.06亿元
百川股份今日跌4.92%,4家机构专用席位净买入2.26亿元
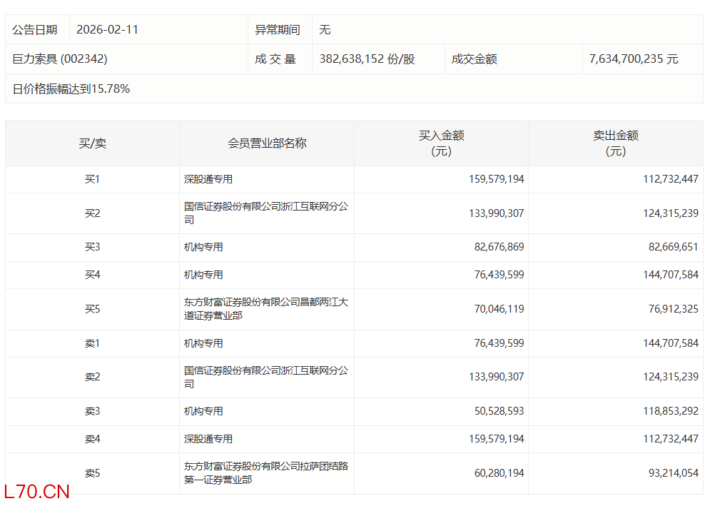
巨力索具今日跌3.64%,有2家机构专用席位净卖出1.37亿元
16 02-11 16:38
协鑫集成今日涨4.37%,有2家机构专用席位净卖出3.44亿元
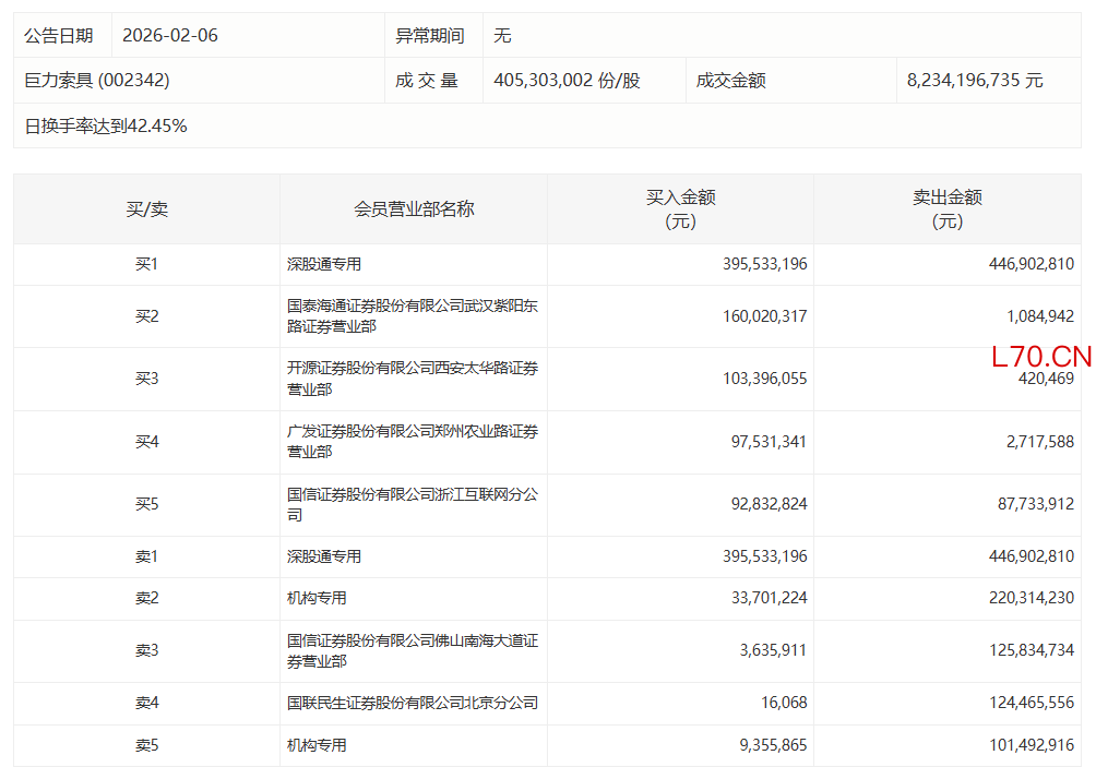
巨力索具今日涨7.94%配资杠杆可以中途调整吗,有2家机构专用席位净卖出2.79亿元